Порой, при подборе промышленного водогрейного оборудования, возникает много нюансов и вопросов, на которые не так просто найти ответы. В данной статье, мы собрали самые актуальные вопросы о водогрейных котлах, которые производит завод TEPLO:
-
Что такое промышленный водогрейный котёл?
-
Принцип работы КВа
-
Что входит в комплект поставки котла?
-
На каком топливе работает водогрейные установки
-
Возможна ли поставка водогрейного котла в блок-контейнере
-
Что нужно для установки оборудования у себя на производстве
-
С каким теплоносителем работают котлы TEPLO?
-
Какая система водоподготовки необходима для водогрейных котлов?
-
Какой срок гарантии и срок службы КВа?
-
Как осуществляется перевозка котлов?
-
Почему клиенты выбирают водогрейные котлы TEPLO?
1. ЧТО ТАКОЕ ПРОМЫШЛЕННЫЙ ВОДОГРЕЙНЫЙ КОТЁЛ?
Водогрейные котлы типа КВа предназначены для получения теплоносителя температурой до +105 °С с избыточным давлением до 0,6 МПа (6 бар, 6 кгс/см2), с целью организации отопления и горячего водоснабжения (ГВС) гражданских и производственных помещений с использованием теплообменных устройств или же посредством прямого подключения к контуру потребителя с коллектором типа «гидрострелка».
В линейке завода TEPLO, водогрейные котлы с мощностью от 0,1 до 2,0 МВт, которые могут быть использованы как самостоятельно, так и в комплексе с блочно-модульными и водогрейными котельными.
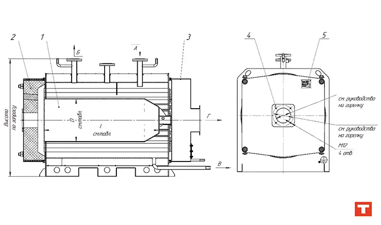
2. ПРИНЦИП РАБОТЫ КОТЛОВ КВа
Стальные жаротрубные водогрейные котлы выполнены с горизонтально расположенной топкой, в которой осуществляется процесс передачи тепловой энергии от сгораемого топлива, нагнетаемого вентиляторной горелкой под наддувом.
Подача теплоносителя осуществляется от циркуляционного насоса. Проходя через водяной объѐм нагревателя котла, теплоноситель нагревается, снимая достаточное количество теплоты с поверхности дымогарных труб и топки.
Прогретый теплоноситель из котла подаѐтся через выходной патрубок и поступает в контур теплообменника или магистраль потребителя.
Также, на водогрейных котлах присутствуют патрубки для опорожнения котла от воды, и патрубок для отвода дымовых газов в основную дымовую трубу.
Конструктивно отопительный водогрейный котѐл выполнен из трѐх основных частей: реверсивной топки и двух крышек — передней и задней. Передняя крышка имеет теплоизоляцию из мулитокремнеземестого огнеупора.
3. ЧТО ВХОДИТ В КОМПЛЕКТ ПОСТАВКИ КОТЛА?
В базовую комплектацию любого водогрейного котла от завода TEPLO входит:
-
Жаротрубный котёл
-
Элементы КИПиА и запорно-предохранительной арматуры
-
Шкаф управления котлом с автоматикой
-
Ёрш для чистки дымогарных труб
-
Паспорт и руководство по эксплуатации котельной
В зависимости от запросов от Клиента, водогрейные котлы КВа от TEPLO могут дополнительно оснащаться дымовой трубой, теплообменниками, расширительными баками, трубопроводами с необходимой запорной арматурой и ёмкостями для хранения дизельного топлива, при работе с дизельной горелкой.
Горелка в базовую комплектацию не входит — её клиент выбирает самостоятельно, исходя из потребностей и необходимого топлива.
4. НА КАКОМ ТОПЛИВЕ РАБОТАЮТ ВОДОГРЕЙНЫЕ УСТАНОВКИ
Водогрейные котлы TEPLO могут быть скомплектованы горелками, работающими на газовом или дизельном топливе, итальянских производителей «Baltur», «F.B.R.», «EcoFlame». Или горелками российского производства, работающих на мазуте, отработанном масле или печном топливе — «Сибстронг», «Феникс» и др.
Также, мы можем предложить своим клиентам, комбинированные горелки, работающие на нескольких видах топлива одновременно. Это удобно, когда есть перебои с поставками одного вида топлива. Комбинированные горелки могут работать по системе «газ-дизель», «газ-мазут», «мазут-дизель» и др.
Модуляционные горелки, также пользуются популярностью у наших клиентов. Модуляция позволяет регулировать мощность горелки от 10 до 100%, что позволяет значительно экономить топливо, а в следствии и оплату его счетов.
5. ВОЗМОЖНА ЛИ ПОСТАВКА ВОДОГРЕЙНОГО КОТЛА В БЛОК-КОНТЕЙНЕРЕ
В большинстве случаев, водогрейные котлы поставляются в комплектации «на раме» и монтируются непосредственно в существующих или отдельных помещениях котельных. В блок-контейнере данные изделия поставляются в составе водогрейных или блочно-модульных котельных.
Поставка отдельного водогрейного котла в блок-контейнере не пользуется популярностью и не имеет необходимости, однако в практике завода TEPLO бывали и такие случаи. Мы всегда идём навстречу клиенту и поставляем оборудование в необходимой для него комплектации.
6. ЧТО НУЖНО ДЛЯ УСТАНОВКИ ОБОРУДОВАНИЯ У СЕБЯ НА ПРОИЗВОДСТВЕ
Для организации работы водогрейного котла на объекте, в зависимости от условий, при которых он будет эксплуатироваться, необходим проект или схема привязки КВа к существующим сетям. Также необходимо подготовить ровную площадку и обеспечить подключение необходимых внешних сетей:
-
воды
-
электроэнергии с параметрами 230/400В, 50Гц,
-
топлива, на котором будет работать парогенератор (газ, дизель, мазут или др.).
При размещении водогрейного котла в помещении, необходимо убедиться в свободной вентиляции, а также технологических отверстий для дымовой трубы.
Котлы отопительные водогрейные типоразмеров от КВа-0,1Гн/ЛЖ до КВа-3Гн/ЛЖ разрешается устанавливать в отдельно стоящие помещения (блочно-модульного исполнения), высота потолков (от пола) которых не менее 2,2метра, если котлы устанавливаются в существующие котельные залы, где необходима постоянное пребывание рабочего персонала – высота потолков от пола должна быть не менее 2,4метра, а объѐм помещения не менее 15м.куб.
Также, при работе на воде, необходимо установить хим.водоподготовку. При работе на другом виде теплоносителя — водоподготовка не требуется.
7. С КАКИМ ТЕПЛОНОСИТЕЛЕМ РАБОТАЮТ КОТЛЫ TEPLO?
Подключение к питательной воде водогрейных котлов КВа от TEPLO, должно отвечать требованиям РД 10.165-91 «Методические указании по надзору за водно-химическим режимом паровых и водогрейных котлов».
При использовании котла в открытом контуре без теплообменника ресурс котла, в зависимости от качества теплоносителя, может значительно снизится (не прогнозируемый коррозионный износ).
Так же в качестве теплоносителя могут использоваться жидкости по ГОСТ 33591-2015 (пропиленгликоль с концентрацией 40…70%, этиленгликоль с концентрацией 40…70%) и иные жидкости нейтральные к черной стали и отвечающие температурным режимам.
8. КАКАЯ СИСТЕМА ВОДОПОДГОТОВКИ НЕОБХОДИМА ДЛЯ ВОДОГРЕЙНЫХ КОТЛОВ?
Водоподготовка — один из важнейших элементов при работе с котловым водогрейным оборудованием.
При работе с жесткой водой — соли, кислоты, отложения, органические и механические частицы и прочие примеси способны за очень короткий срок нарушить работу технологический процесс работы парогенератора.
Далеко не все осознают значимость водоподготовки, однако срок службы водогрейных котлов с подготовленной водой может доходить до 10-15 лет, тогда как без водоподготовки котёл проработает не более 3-х лет.
Поэтому, перед введением в эксплуатацию парогенератора, необходимо сделать исходный анализ воды в сертифицированной лаборатории, чтобы в дальнейшем, определить какой вид водоподготовки необходим в данном конкретном случае:
-
· Умягчение и деминерализация воды
-
· Обезжелезивание и деманганация воды
-
· Дегазация воды
-
· Сорбция и осветление воды
-
· Тонкая механическая очистка воды
-
· Обеззараживание воды
Компания TEPLO может предложить различные варианты водоподготовки под конкретный анализ воды клиента.
9. КАКОЙ СРОК ГАРАНТИИ И СРОК СЛУЖБЫ КОТЛОВ КВа?
На всё оборудование TEPLO распространяются гарантийные обязательства, сроком на 1 год. При проведении пуско-наладочных работ, инженерами завода-производителя, срок гарантии увеличивается до 2 лет.
Срок службы парогенераторов TEPLO — 10 лет. На протяжении всего периода эксплуатации котлового оборудования, доступно сервисное обслуживание, со всеми необходимыми консультациями, поставками запасных частей, а также, при необходимости, выездом профильного специалиста на объект.
10. КАК ОСУЩЕСТВЛЯЕТСЯ ПЕРЕВОЗКА КОТЛОВ?
Все водогрейные котлы TEPLO выполнены в транспортном габарите и доступны к перевозке на стандартном грузовом транспорте. Доставка на объект клиента может осуществляться как собственным автомобильным транспортом компании TEPLO с полным страхованием груза, так и силами Клиента, при наличии у него необходимого транспортного средства.
Также, доставка оборудования возможна при помощи транспортных компаний. Компания TEPLO сотрудничает с большинством известных транспортных компаний.
Отправка котельного оборудования железнодорожным транспортом также возможна, но обговаривается индивидуально.
11. ПОЧЕМУ КЛИЕНТЫ ВЫБИРАЮТ ВОДОГРЕЙНЫЕ КОТЛЫ TEPLO?
Производство полного цикла позволяет нам производить водогрейные котлы с контролем качества на всех этапах. Все водогрейные котлы имеют гарантию 2 года (при проведении шеф-монтажных работ специалистами TEPLO), а также сервисное обслуживание на весь период эксплуатации.
Мы изготавливаем котлы, в том числе, и из конструкционной стали 09г2с с повышенной металлоемкостью, что позволяет эксплуатировать их в течении длительного времени.
Многоступенчатая система безопасности и повышенная автоматизация с элементами КИПиА от проверенных поставщиков делают работу с котлами простой и надёжной.
________________________________
• Отдел продаж: +7-351-220-77-84
• Официальный сайт завода TEPLO: https://teplo-power.kz/
• Выставочный зал TEPLO: https://yandex.ru/maps/-/CCUNq2rggD
• ВК: https://vk.com/teplo_power
• Телеграм: https://t.me/teplo_es
• Дзен: https://dzen.ru/teplo_power
• YouTube: https://www.youtube.com/@teplo-power
• RuTube: https://rutube.ru/channel/24605199/
_________________________________








